Not all MC-step up transformers are the same! SILK Supermalloy MC-Step up Transformer takes several steps to design and build better transformers. The core material uses the best Supermalloy Nickel/Cobalt alloy core in the world to provide the highest inductance with lowest copper turn to allow extreme Nano Winding Technology that extends the frequency bandwidth with lowest phase shift and highest signal transfer.
Nano Winding Technology is Silk’s exclusive technique that starts with super small OFC wires (much smaller than human hair) woven to to extend high frequency by increasing the skin area of conductor (skin effect). The copper wire is also wound perfect lay to help maximize signal coupling.
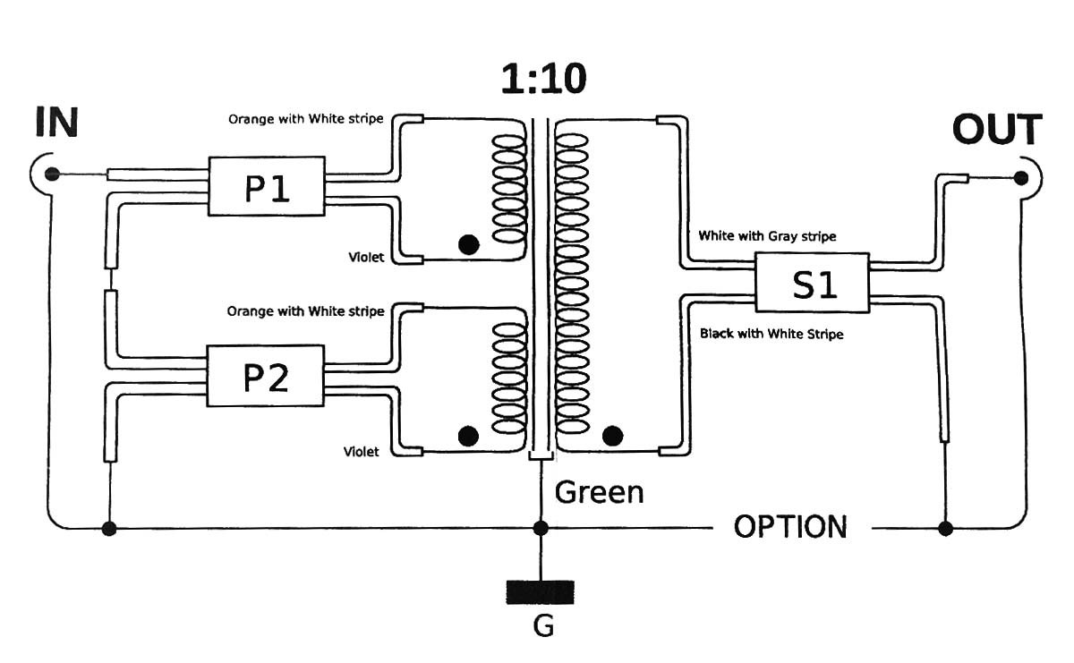
Silk Audio Supermalloy SQ annealed Core MC Step up (MC-220-A). 10x and 20x, stainless shielded can, 25/100 ohm input impedance. The best one is as much as 50% better and enables the exotic and proprietary winding scheme used. Developed to compete against top rated step. It can be wired as 1:10 or 1:20 with guaranteed better FR response than even Ortofon T-3000 (+$1,600USD). beautiful stainless 5x7cm can with mounting brackets.


